HMS Vanguard
Модераторы: Roman Roganov, FreeLander, Valentin Demin
- 
				Михаил Комаров
- Сообщения: 1008
- Зарегистрирован: Сб мар 12, 2011 19:58
- Откуда: Саратов
- Благодарил (а): 10 раз
- Поблагодарили: 42 раза
Re: HMS Vanguard
Игорь, не очень четкое фото чертежа  . Пропорции правильные, а цифры не совпадают.  К примеру-- размер стойки в нижней части 3х3, а длина этой толстой части указана 4, хотя по пропорции там больше.  Это не так важно, сделаю размеры по пропорциям.
			
			
									
						- 
				Михаил Комаров
- Сообщения: 1008
- Зарегистрирован: Сб мар 12, 2011 19:58
- Откуда: Саратов
- Благодарил (а): 10 раз
- Поблагодарили: 42 раза
Re: HMS Vanguard
Чуть откорректировал фото и снял размеры.  За основу взял высоту -22-, уменьшить фото до такого размера не получается, идет только в сторону увеличения. Увеличил фото в два раза до44, что получилось-- Крыша размер на чертеже-16, у меня-18, Высота утолщенной части стойки на чертеже-4, у меня -6, и самое главное,сама стойка на чертеже 3х3, у меня с натягом 2,5х2,5,а в суженой  части 2х2.  Еще до чертежа  сделал профиль брусочка 3х3 и тогда это казалось слишком много, а чертеж подтверждает, что я прав. Лучшим считаю сделать для эксперимента стойку с основанием 3х3 и 2,5х2,5  и посмотреть,какая пропорция лучше.
			
			
									
						- Игорь Тараканов
- Сообщения: 6997
- Зарегистрирован: Сб дек 29, 2012 5:31
- Благодарил (а): 74 раза
- Поблагодарили: 1227 раз
Re: HMS Vanguard
У меня тоже высота 22 (Амати предлагает нам 20, но я посчитал, что лучше взять высоту с Виктори) и крыша 16х16, как на том чертеже и как у Амати. Главное, чтобы "база" не вылезла за 15х15, иначе при установке ложементов для стеньг они будут или искажены визуально (уменьшены), или придётся ещё больше отодвинуть фиф-реельсы в сторону борта, и они "залезут" на проход со шкафутного мостика. На пропорции стоек я не обращаю внимания, потому что, во-первых, это эскиз (на готовое изображение нанесены свои размерные линии и данные), а во-вторых, ориентируюсь на этот прототип:
Хорошо видно, что здесь ноги гораздо прочнее викториевских. А нам сюда ещё брасы фор-брамселя заводить (хотя я, пожалуй, заведу брасы на фиф-реельсы, иначе на модели выломает или ноги, или утки на ногах)
к сожалению, на оригинальном чертеже Слэйда показана ранняя колокольня, поэтому историческим чертежом не воспользоваться.
			
			
									
						Хорошо видно, что здесь ноги гораздо прочнее викториевских. А нам сюда ещё брасы фор-брамселя заводить (хотя я, пожалуй, заведу брасы на фиф-реельсы, иначе на модели выломает или ноги, или утки на ногах)
к сожалению, на оригинальном чертеже Слэйда показана ранняя колокольня, поэтому историческим чертежом не воспользоваться.
- Игорь Тараканов
- Сообщения: 6997
- Зарегистрирован: Сб дек 29, 2012 5:31
- Благодарил (а): 74 раза
- Поблагодарили: 1227 раз
Re: HMS Vanguard
утки, про которые я говорил
(упоминаются сразу у нескольких авторов, но они не встречаются ни на одной исторической модели 74-п кораблей, поэтому я имею некую вольность брасы перенести на фиф-реельс возле колокольни)
			
			
									
						(упоминаются сразу у нескольких авторов, но они не встречаются ни на одной исторической модели 74-п кораблей, поэтому я имею некую вольность брасы перенести на фиф-реельс возле колокольни)
- 
				Михаил Комаров
- Сообщения: 1008
- Зарегистрирован: Сб мар 12, 2011 19:58
- Откуда: Саратов
- Благодарил (а): 10 раз
- Поблагодарили: 42 раза
Re: HMS Vanguard
Да, наверное все правильно, единственно то, что если утолщенные части стоек выше, как ваш образец, на который вы ориентируетесь,  пропадает ощущение  ажурности конструкции.  На вашем чертежике , как мне думается, самая правильная пропорция. И,потом, Игорь, трудно довольно исполнить эту колокольню, слишком маленькие размеры. И на черном дереве плохо видно разные выемки.  А делать из светлого, а потом красить, что-то не хочется.Утки на Виктори видны, но сделать их из-за малого размера для меня не реально. И так часто с лупой приходится работать.
			
			
									
						- Игорь Тараканов
- Сообщения: 6997
- Зарегистрирован: Сб дек 29, 2012 5:31
- Благодарил (а): 74 раза
- Поблагодарили: 1227 раз
Re: HMS Vanguard
Миша, вот! Я как раз о том же и говорю. Утки на Вике видны, но, блин, на исторических моделях фор-брам-шкоты заведены на фиф-реельс! Явсё понимаю, но покажите мне человека, который лет пять-семь строил модель и ни разу, ни на грамм, не зацепился нечаянно за брам-шкоты! утки на колокольне - не жильцы, это однозначно. Ладно, мне не заподло, я могу брасы завести так, что не попорчу, но... у меня перед глазами прекрасная модель систершипа нашего,  Геркулеса, и у модели не менее прекрасный такелаж - и всё нормально там с брасами, "ша, никто никуда не идёт".
вот, подойдём к вопросу с другой стороны.
Иными словами, Я МОГУ ДОКАЗАТЬ, что у прототипа брасы шли так-то и так-то, я даже вот на этих фотографиях неполных, могу назвать КАЖДУЮ снасть. И что? Я повторю - не сколько для Михаила, сколько для наших коллег, у которых очень большая проблема в такелаже будет, если они выбрали в качестве прототипа Авангард после 1800 года... повторю: есть реальные доказательства из Гринвича, что к колокольне у наших 74х-п-ков не шли никакие брасы, и их можно перезавести. Как ровно есть доказательства, что колокольни наших прототипов отличались от аналога Виктори как в высоту, так и в "худобу". Так какое слово будет за вами, коллеги? Я лучше воспроизведу колокольню с реальных моделей Геркулеса, лже-Беллоны, Уорриора (Гринвича) и позднего Эгмонда, чем скопирую колокольню Виктори (а ведь на чертежах и модели Слэйда именно Виктори - колокольня отличается от того, что сейчас, коллеги ЭТО проверяли, или нет?)
Короче, я за колокольню Геркулеса и за такую на модели позднего Эгмонта.
			
			
									
						вот, подойдём к вопросу с другой стороны.
Иными словами, Я МОГУ ДОКАЗАТЬ, что у прототипа брасы шли так-то и так-то, я даже вот на этих фотографиях неполных, могу назвать КАЖДУЮ снасть. И что? Я повторю - не сколько для Михаила, сколько для наших коллег, у которых очень большая проблема в такелаже будет, если они выбрали в качестве прототипа Авангард после 1800 года... повторю: есть реальные доказательства из Гринвича, что к колокольне у наших 74х-п-ков не шли никакие брасы, и их можно перезавести. Как ровно есть доказательства, что колокольни наших прототипов отличались от аналога Виктори как в высоту, так и в "худобу". Так какое слово будет за вами, коллеги? Я лучше воспроизведу колокольню с реальных моделей Геркулеса, лже-Беллоны, Уорриора (Гринвича) и позднего Эгмонда, чем скопирую колокольню Виктори (а ведь на чертежах и модели Слэйда именно Виктори - колокольня отличается от того, что сейчас, коллеги ЭТО проверяли, или нет?)
Короче, я за колокольню Геркулеса и за такую на модели позднего Эгмонта.
- 
				Михаил Комаров
- Сообщения: 1008
- Зарегистрирован: Сб мар 12, 2011 19:58
- Откуда: Саратов
- Благодарил (а): 10 раз
- Поблагодарили: 42 раза
Re: HMS Vanguard
Игорь, спасибо, я , правда не знал, что вы одессит.  Но это шутка. Некоторое время назад, когда я показал фото колокольни Виктори, вы, вроде одобрили этот вариант. И я уж и свою технологию стал придумывать, а теперь о других колокольнях речь пошла. А эта деталька такая маленькая, что о ней и говорить. Я считаю, что  надо качественно сделать  и все.  Буду делать , покажу. Пока стойки прорабатываю
			
			
									
						- Игорь Тараканов
- Сообщения: 6997
- Зарегистрирован: Сб дек 29, 2012 5:31
- Благодарил (а): 74 раза
- Поблагодарили: 1227 раз
Re: HMS Vanguard
Так я же говорил о конструкции тогда. Я, когда имею ввиду колокольню Эгмонда, прошу обратить внимание именно на пропорции, которые отличаются от таковых на колокольне Виктори. Просто, были же и другие колокольни по конструкции, взять тот же ранний Эгмонт или чертёж Слэйда. Тогда, и сейчас, я согласен, что лучше взять конструкцию, как на Виктори, но на этом совпадения закончатся.
			
			
									
						- Игорь Тараканов
- Сообщения: 6997
- Зарегистрирован: Сб дек 29, 2012 5:31
- Благодарил (а): 74 раза
- Поблагодарили: 1227 раз
Re: HMS Vanguard
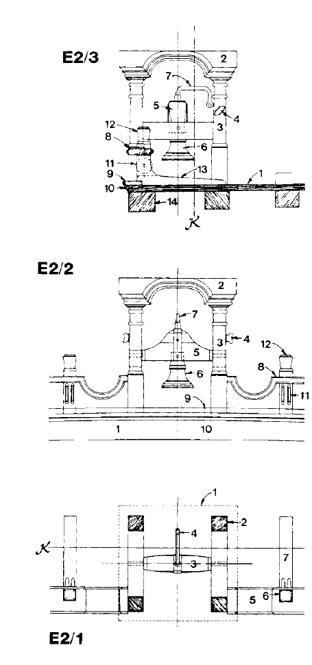
Миша, вот тебе ещё немножечко картинок в помощь: прорисовка крепления колокола к качалке-противовесу, правильный чертёж колокольни без размерных линий, ну, и фото, конечно:
			
			
									
						- 
				Михаил Комаров
- Сообщения: 1008
- Зарегистрирован: Сб мар 12, 2011 19:58
- Откуда: Саратов
- Благодарил (а): 10 раз
- Поблагодарили: 42 раза
Re: HMS Vanguard
Игорь, спасибо. Я как раз стойки заканчиваю и буду думать о технологии изготовления крыши колокольни. Дополнительная информация очень к месту.
			
			
									
						- 
				Михаил Комаров
- Сообщения: 1008
- Зарегистрирован: Сб мар 12, 2011 19:58
- Откуда: Саратов
- Благодарил (а): 10 раз
- Поблагодарили: 42 раза
Re: HMS Vanguard
Добрый день.  Долго думал над технологией изготовления колокольни и потихонько  экспериментировал. Вышел на такой вариант.  Пробовал и другие, не получается. Сложно было вклеивать вкладыши в стойки, хоть заранее и были проточены пазы, но из-за малых размеров клеить было сложно. Клеить начал на титебон, но когда , после высыхания клея стал обрабатывать торчащие торцы, эти вкладыши стали вываливаться. Пришлось все делать заново. При этом уменьшил размер пазов с 1 мм, до 08. Покупал для медной обшивки цианкрилатный гель, вот его и применил, как-то не особо доверял этому клею, а зря, держит классно. Теперь буду думать над крышей колокольни.
			
							
			
									
						- Игорь Тараканов
- Сообщения: 6997
- Зарегистрирован: Сб дек 29, 2012 5:31
- Благодарил (а): 74 раза
- Поблагодарили: 1227 раз
Re: HMS Vanguard
Миша, как всегда, работа на высоте! Жаль, коллеги не очень представляют, насколько малы эти детали в реальности, фото не передаёт. Но я очень даже представляю и восхищаюсь. 
Анонсирую: я тоже не стою на месте, и скоро будет сюрприз! Надеюсь, до июля успею.
			
			
									
						Анонсирую: я тоже не стою на месте, и скоро будет сюрприз! Надеюсь, до июля успею.
- 
				Павел Крук
- Сообщения: 1910
- Зарегистрирован: Ср дек 14, 2011 9:08
- Откуда: Беларусь Минск
- Благодарил (а): 80 раз
- Поблагодарили: 119 раз
Re: HMS Vanguard
Вот если-б Михаил еще показал как он это сделал. 
А так работа тонкая замер жду финиш
			
			
									
						А так работа тонкая замер жду финиш

... Летать не умеют. Стрелять тоже... пока не умеют... Но, орлы! /Титаренко/
Я не моделист я только учусь, с уважением Павел
			
						Я не моделист я только учусь, с уважением Павел
- 
				Михаил Комаров
- Сообщения: 1008
- Зарегистрирован: Сб мар 12, 2011 19:58
- Откуда: Саратов
- Благодарил (а): 10 раз
- Поблагодарили: 42 раза
Re: HMS Vanguard
Игорь, Павел, спасибо.  Коротко расскажу, как делал.  Делал заготовки стоек 3х3, потом фрезами выбирал пазы. 05х05.  Брал реечки 05х08 и вклеивал в пазы. Есть, конечно, тонкости. Вклеивать было сложно, пока не приноравился. Клеил на циан, титебонд  на таких малых плоскостях не работает. Или может я не так клеил. Дерево черное и видно стыки очень плохо. Работал с лупой. На светлом дереве проще, но потом красить, не то.Обязательно делал штифты . Особенно посадочное место на палубу. И фиксировать детали относительно друг друга без них плохо. все  разъезжается. Второй день не придумаю , как сделать металлическую вставку в противовес колоколу, сделал для этого проточку 1мм. ,а вот саму железку сделать не получается. Она должна быть шириной 1мм, да еще с отверстиями под гвоздики, да еще согнута. Думаю.
			
							
			
									
						- 
				Михаил Комаров
- Сообщения: 1008
- Зарегистрирован: Сб мар 12, 2011 19:58
- Откуда: Саратов
- Благодарил (а): 10 раз
- Поблагодарили: 42 раза
 
		



