HMS Vanguard
Модераторы: Roman Roganov, FreeLander, Valentin Demin
- Sergikilos
- Сообщения: 218
- Зарегистрирован: Пт сен 18, 2015 23:02
- Откуда: Пермь
- Благодарил (а): 15 раз
- Поблагодарили: 65 раз
Re: HMS Vanguard
Михаил, поздравляю с прекрасным результатом! Добиться такого качества и точности в таком мелком масштабе, это дорого стоит! Такая тонкая вещь, хоть и маленькая, но будет очень важным и большим украшением корабля! Когда буду делать колокольню на Крокодиле, то буду ровняться на Вашу. Сохранил себе в архив))
			
			
									
						Pirate Ship Adventure (не закончена) https://gallery.shipmodeling.ru/from_kits/Amati/kilos15
			
						- 
				Михаил Комаров
- Сообщения: 1008
- Зарегистрирован: Сб мар 12, 2011 19:58
- Откуда: Саратов
- Благодарил (а): 10 раз
- Поблагодарили: 42 раза
- Игорь Тараканов
- Сообщения: 6997
- Зарегистрирован: Сб дек 29, 2012 5:31
- Благодарил (а): 74 раза
- Поблагодарили: 1227 раз
Re: HMS Vanguard
Миша, по возможности, продолжи рассказ про технологию постройки колокольни, а то проанонсировал, и фффсё. Ты опоры фиксировал на размеченной пластине, а потом ставил крышу? (про разрезанные верхние части колонн я понял)
			
			
									
						- 
				Михаил Комаров
- Сообщения: 1008
- Зарегистрирован: Сб мар 12, 2011 19:58
- Откуда: Саратов
- Благодарил (а): 10 раз
- Поблагодарили: 42 раза
Re: HMS Vanguard
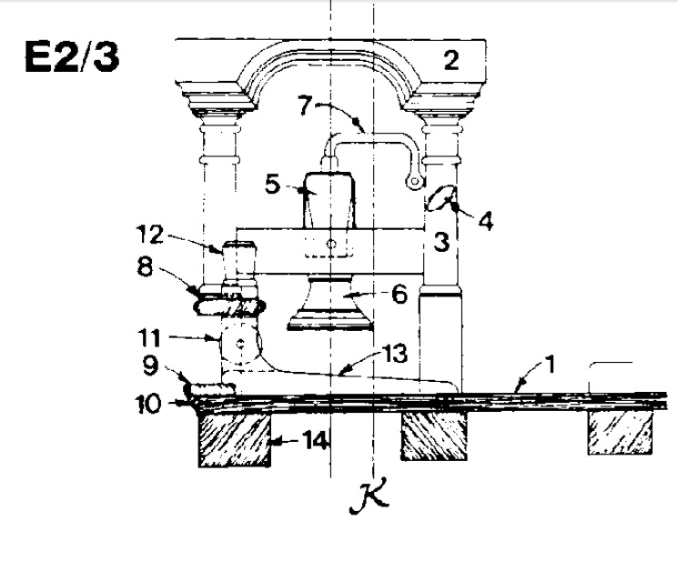
Доброе утро. Игорь,  выше есть фото, где верхние  конусные части  стоек приклеены к четырем углам крыши.  Эти конусные части с посадочными отверстиями.  Вот эти отверстия и есть основа для  позиционирования стоек.  Встал вопрос точности приклеивания этих конусов к крыше. Сделал простую приспособу .Два брусочка  сходятся под прямым углом.  Ставим перевернутую крышу углом в место схождения брусочков , и туда же ставим конусную детальку, она упирается в брусочки и становится точно по месту. Но поскольку  крыша имеет скошенный рисунок, то пришлось у брусочков сделать выемку( глубина выемки делается визуально). После  приклейки конусов  перенес размер четырех отверстий на  пластину-основу. Получается пластина-основа ,  над ней крыша с конусами и с отверстиями , зеркально расположенными  отверстиями в пластине -основе. Ведь в стойках тоже есть отверстия по центру. Сажаем все на штифты и готово.  Честно сказать я ничего не понял, что написал. Все фото наоборот. И где  перевернутая колокольня, должна быть просто крыша. Фото такого нет и я для наглядности поставил колокольню.
			
							
			
									
						- Игорь Тараканов
- Сообщения: 6997
- Зарегистрирован: Сб дек 29, 2012 5:31
- Благодарил (а): 74 раза
- Поблагодарили: 1227 раз
- 
				Михаил Комаров
- Сообщения: 1008
- Зарегистрирован: Сб мар 12, 2011 19:58
- Откуда: Саратов
- Благодарил (а): 10 раз
- Поблагодарили: 42 раза
Re: HMS Vanguard
Добрый день.  Может  у кого есть фото  вот этих стоек с обратной стороны.  Не нашел, как они называются.  В них видно по два отверстия.  Видимо там блоки. Не ясно, как они расположены.
			
							
			
									
						- Игорь Тараканов
- Сообщения: 6997
- Зарегистрирован: Сб дек 29, 2012 5:31
- Благодарил (а): 74 раза
- Поблагодарили: 1227 раз
- 
				Михаил Комаров
- Сообщения: 1008
- Зарегистрирован: Сб мар 12, 2011 19:58
- Откуда: Саратов
- Благодарил (а): 10 раз
- Поблагодарили: 42 раза
- Игорь Тараканов
- Сообщения: 6997
- Зарегистрирован: Сб дек 29, 2012 5:31
- Благодарил (а): 74 раза
- Поблагодарили: 1227 раз
Re: HMS Vanguard
Миша, погоди, не всё так страшно, ведь на наших 74х-пушечниках, в отличии от "Виктори", в битенгах было по одному шкив-гату и, соответственно, по одному шкиву. Когда я рассказыал про эти битенги в твоей теме, это обсуждалось, поэтому, по понятным причинам, разреши не дублировать информацию. Есть масса подтверждений, несколько примеров я приводил. Главное, на первоначальном проекте, "Беллона", и на основном нашем примере исторической адмиралтейской модели "Эгмонта" из коллекции Гринвича, показано именно так. Фотографии разных кораблей мы уже рассматривали ранее, я просто напомню:
			
			
									
						- 
				Михаил Комаров
- Сообщения: 1008
- Зарегистрирован: Сб мар 12, 2011 19:58
- Откуда: Саратов
- Благодарил (а): 10 раз
- Поблагодарили: 42 раза
Re: HMS Vanguard
Игорь простите старого невежу.  Все забываю.  Ну и хорошо, что один шкив , проще делать.  Там бы лучше смотрелся бы шкив 08мм, а у меня фреза 08 с короткой шейкой, глубоко не прорежет, а 1мм фреза есть , но ,кажется, будет шкив слишком толст.
			
			
									
						- 
				Павел Крук
- Сообщения: 1911
- Зарегистрирован: Ср дек 14, 2011 9:08
- Откуда: Беларусь Минск
- Благодарил (а): 80 раз
- Поблагодарили: 119 раз
Re: HMS Vanguard
Михаил в вашем масштабе лучше будет смотреться не полноценный шкив а имитация, все одно под снастью спрячется.
			
			
									
						... Летать не умеют. Стрелять тоже... пока не умеют... Но, орлы! /Титаренко/
Я не моделист я только учусь, с уважением Павел
			
						Я не моделист я только учусь, с уважением Павел
- FreeLander
- родоначальник 
- Сообщения: 12152
- Зарегистрирован: Пн авг 14, 2006 12:04
- Откуда: Москва
- Благодарил (а): 1363 раза
- Поблагодарили: 724 раза
- Контактная информация:
Re: HMS Vanguard
ИМХО проще склеить столбик из трех ламелек. Если черный граб взять, то склейки и видно не будет.
			
			
									
						- 
				Михаил Комаров
- Сообщения: 1008
- Зарегистрирован: Сб мар 12, 2011 19:58
- Откуда: Саратов
- Благодарил (а): 10 раз
- Поблагодарили: 42 раза
Re: HMS Vanguard
Павел, Петр - спасибо. Все правильно. В месте выхода шкива делаем выемку фрезой 08 на глубину где-то около 1мм и в этот паз вклеиваем  часть шкива.Спасибо.
			
			
									
						- 
				Павел Крук
- Сообщения: 1911
- Зарегистрирован: Ср дек 14, 2011 9:08
- Откуда: Беларусь Минск
- Благодарил (а): 80 раз
- Поблагодарили: 119 раз
Re: HMS Vanguard
я имел в виду такой способ имитации 
viewtopic.php?f=65&t=5418&start=405#p115887
Более простой, но в этом случае шкив будет того-же цвета что и основной элемент
			
			
									
						viewtopic.php?f=65&t=5418&start=405#p115887
Более простой, но в этом случае шкив будет того-же цвета что и основной элемент
... Летать не умеют. Стрелять тоже... пока не умеют... Но, орлы! /Титаренко/
Я не моделист я только учусь, с уважением Павел
			
						Я не моделист я только учусь, с уважением Павел
- 
				Михаил Комаров
- Сообщения: 1008
- Зарегистрирован: Сб мар 12, 2011 19:58
- Откуда: Саратов
- Благодарил (а): 10 раз
- Поблагодарили: 42 раза
 
		





