HMS Vanguard
Модераторы: Roman Roganov, FreeLander, Valentin Demin
- Игорь Тараканов
- Сообщения: 6997
- Зарегистрирован: Сб дек 29, 2012 5:31
- Благодарил (а): 74 раза
- Поблагодарили: 1227 раз
Re: HMS Vanguard
ну, можно и ещё проще.
вот Барфлёр, у него крыша колокольни сделана из полукруглых заготовок:
а на лже-Беллоне тоже дуги без площадок для колонн:
а тут крыша вообще восьмиугольная "кепка без козырька" на квадратном основании (надо полагать, у основания круглый вырез в середине, под "кепкой"):
			
			
									
						вот Барфлёр, у него крыша колокольни сделана из полукруглых заготовок:
а на лже-Беллоне тоже дуги без площадок для колонн:
а тут крыша вообще восьмиугольная "кепка без козырька" на квадратном основании (надо полагать, у основания круглый вырез в середине, под "кепкой"):
- 
				Михаил Комаров
- Сообщения: 1008
- Зарегистрирован: Сб мар 12, 2011 19:58
- Откуда: Саратов
- Благодарил (а): 10 раз
- Поблагодарили: 42 раза
Re: HMS Vanguard
Олег, у меня примерно такие же мысли. Еще вчера сделал на токарнике деревянную трубку, разрезал, правда на четыре части, но переборщил с диаметром, сделал 8 мм, это внутренний, сегодня попробую 6мм. Все так мелко, по чертежу даже деаметр определить сложно. Приходится делать и примерять, потом опять делать. Сложен и тернист путь первопроходцев-шутка.Олег Серегин писал(а):если размер позволяет, можно так
Не очень понятно, из целого куска делать две заготовки или потом их соединить. Можно поподробней. Честно сказать не ожидал такого участия. Спасибо всем .Ivnika писал(а):Например так (внешний радиус можно отшлифовать по месту после склейки)Михаил Комаров писал(а):Опять же проблема
- Олег Серегин
- Сообщения: 3505
- Зарегистрирован: Пт янв 30, 2009 15:30
- Откуда: Ульяновск
- Благодарил (а): 321 раз
- Поблагодарили: 218 раз
Re: HMS Vanguard
Спасибо. На мой взгляд это самое простое решение со стандартным набором инструмента. На черном склейка не видна будет
Предложение Ивана требует изготовление фрезы на внешний радиус с подгонкой под внутренний. Имхо это сложно слишком для одной крыши
			
			
									
						Предложение Ивана требует изготовление фрезы на внешний радиус с подгонкой под внутренний. Имхо это сложно слишком для одной крыши
Прямая обязанность художника показывать, а не доказывать. © А.Блок
Заказ парусов: haron.ul@yandex.ru
			
						Заказ парусов: haron.ul@yandex.ru
- Иван Карпушкин
- Сообщения: 1431
- Зарегистрирован: Ср авг 15, 2012 18:51
- Благодарил (а): 626 раз
- Поблагодарили: 246 раз
Re: HMS Vanguard
Не очень понимаю зачем еще фрезу делать- обычной пройтись в несколько заходов, паз, фаска, остальное сошлифовать )Олег Серегин писал(а):изготовление фрезы
С фрезой понятно что за один заход можно...
- 
				Михаил Комаров
- Сообщения: 1008
- Зарегистрирован: Сб мар 12, 2011 19:58
- Откуда: Саратов
- Благодарил (а): 10 раз
- Поблагодарили: 42 раза
Re: HMS Vanguard
Не очень понимаю зачем еще фрезу делать- обычной пройтись в несколько заходов, паз, фаска, остальное сошлифовать )Ivnika писал(а):Олег Серегин писал(а):изготовление фрезы
С фрезой понятно что за один заход можно...[/qu Из- за малого масштаба сложно применить этот метод. Давайте обсуждать. Колокольню делать придется всем. Очень интересная тема.
- 
				Павел Крук
- Сообщения: 1910
- Зарегистрирован: Ср дек 14, 2011 9:08
- Откуда: Беларусь Минск
- Благодарил (а): 80 раз
- Поблагодарили: 119 раз
Re: HMS Vanguard
Михаил а может чертежик с размерами... 
Некоторые мысли то есть но нужно думать.
			
			
									
						Некоторые мысли то есть но нужно думать.
... Летать не умеют. Стрелять тоже... пока не умеют... Но, орлы! /Титаренко/
Я не моделист я только учусь, с уважением Павел
			
						Я не моделист я только учусь, с уважением Павел
- Иван Карпушкин
- Сообщения: 1431
- Зарегистрирован: Ср авг 15, 2012 18:51
- Благодарил (а): 626 раз
- Поблагодарили: 246 раз
- egen
- Сообщения: 7822
- Зарегистрирован: Пт ноя 28, 2008 23:31
- Откуда: Москва
- Благодарил (а): 85 раз
- Поблагодарили: 173 раза
- Контактная информация:
Re: HMS Vanguard
К теме изготовления надо привлечь наших столяров профессионалов.
Рома мог бы ответить.
А Сергей, что Бибигон, еще и технологию разработать.
			
			
									
						Рома мог бы ответить.
А Сергей, что Бибигон, еще и технологию разработать.
- egen
- Сообщения: 7822
- Зарегистрирован: Пт ноя 28, 2008 23:31
- Откуда: Москва
- Благодарил (а): 85 раз
- Поблагодарили: 173 раза
- Контактная информация:
Re: HMS Vanguard
На английском сайте видел интересную технологию.
Не обещаю что смогу найти.
Примерно она выглядела так:
Делают четыре одинаковые заготовки, фрезеруется профиль как вид сбоку.
Потом заготовки обрезаются как треугольники (вид сверху) и состыковываются как конверт, все склеивается.
Как то так
			
							
			
									
						Не обещаю что смогу найти.
Примерно она выглядела так:
Делают четыре одинаковые заготовки, фрезеруется профиль как вид сбоку.
Потом заготовки обрезаются как треугольники (вид сверху) и состыковываются как конверт, все склеивается.
Как то так
- Иван Карпушкин
- Сообщения: 1431
- Зарегистрирован: Ср авг 15, 2012 18:51
- Благодарил (а): 626 раз
- Поблагодарили: 246 раз
- egen
- Сообщения: 7822
- Зарегистрирован: Пт ноя 28, 2008 23:31
- Откуда: Москва
- Благодарил (а): 85 раз
- Поблагодарили: 173 раза
- Контактная информация:
Re: HMS Vanguard
Да, типа такого ))Ivnika писал(а):Делаем планку в профиль как на фото, разрезаем под 45 градусов (и так два раза), склеиваем 4 кускаМихаил Комаров писал(а):возникнут идеи
- egen
- Сообщения: 7822
- Зарегистрирован: Пт ноя 28, 2008 23:31
- Откуда: Москва
- Благодарил (а): 85 раз
- Поблагодарили: 173 раза
- Контактная информация:
Re: HMS Vanguard
Вот если бы была приложена фото готового изделия, то все бы сразу догадались о чем речь ))Ivnika писал(а):А вы предыдущие сообщения принципиально не читаете?
Соори за повтор
Может напомните где выдели такой вариант?
То ли викторию так строили , толи Наиад ...
- Иван Карпушкин
- Сообщения: 1431
- Зарегистрирован: Ср авг 15, 2012 18:51
- Благодарил (а): 626 раз
- Поблагодарили: 246 раз
Re: HMS Vanguard
Я не видел. На предыдущей странице я предложил такую идею, а пару сообщений выше привел более детальное изображение.egen писал(а):Может напомните где выдели такой вариант?
Может у нас по разному тема отображается

- 
				Михаил Комаров
- Сообщения: 1008
- Зарегистрирован: Сб мар 12, 2011 19:58
- Откуда: Саратов
- Благодарил (а): 10 раз
- Поблагодарили: 42 раза
Re: HMS Vanguard
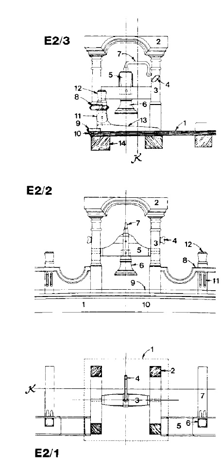
Иван я сразу понял вашу идею. Привлекает, что клеить не надо. Поэтому и говорил, что лучше сделать фрезу для внешнего  радиуса. Можно как вы ри суете, но если эти радиусы чуть не совпадут , получится не так хорошо.  Попробую склеить, не получится, попробую по вашей технологии. Хотя если сделать деталь длинную, чтоб из нее вышли все четыре части, тогда можно сделать точно. Буду пробовать. Насчет чертежа, что просит Павел, покажу. А насчет привлечения профессионалов , я не знаю. Как то неудобно. Да и наши идеи хорошие, пробовать надо . Так попробовать, не получается, попробовать по другому. Что то да получится. Игорь давал чертежи,  вот они. Я почему то не могу на компе уменьшить эти чертежи до своего масштаба. и ориентируюсь на глаз. Что плохо.
			
							
			
									
						- egen
- Сообщения: 7822
- Зарегистрирован: Пт ноя 28, 2008 23:31
- Откуда: Москва
- Благодарил (а): 85 раз
- Поблагодарили: 173 раза
- Контактная информация:
Re: HMS Vanguard
Ваше первенство я не оспариваю.Ivnika писал(а): На предыдущей странице я предложил такую идею, а пару сообщений выше привел более детальное изображение.
Возможно эта идея настолько правильна и проста что многие до нее доходят своим умом.
А если есть опыт работы со столяркой то они сразу на такие способы обращают внимание.
Помоему я все же видел готовое изделие по такой технологии.
На мой взгляд, здесь важно следующее.
Обработать на детали фрезеровку в то время, когда есть за что ее держать. То есть "ушки"
И вот еще - в последнее время пытаюсь повторить работы фрезеровке по металлу.
http://www.ship-model-today.de/fotoreport.htm
У этого мастера там сформулированы тезисы профессионала. Штук 40 на нем яз.
Особенно понравилось - "ничего не надо делать руками". Никаких напильников. Только станочная обработка.
 
		






